当前所在位置: 首页 » 新闻动态 » 版本更新 » 【功能升级】2021年8月第二周:“产品分类”组件增加新风格|“评价列表”增加新风格|“翻译进程”增加“翻译类型”字段

【功能升级】2021年8月第二周:“产品分类”组件增加新风格|“评价列表”增加新风格|“翻译进程”增加“翻译类型”字段

浏览数量: 3221     作者: 本站编辑     发布时间: 2021-08-13      来源: 本站

["wechat","weibo","qzone","douban","email"]

新增功能】:


1、“文章分类”、“产品分类”、“下载分类”、“FAQ分类”4个组件增加新展示风格。可以根据自身需要个性化设置文字大小、行距、背景悬停颜色等。



2、“评价列表”组件新增横排滚动的风格,可通过左右滑动的方式切换展示评价列表。



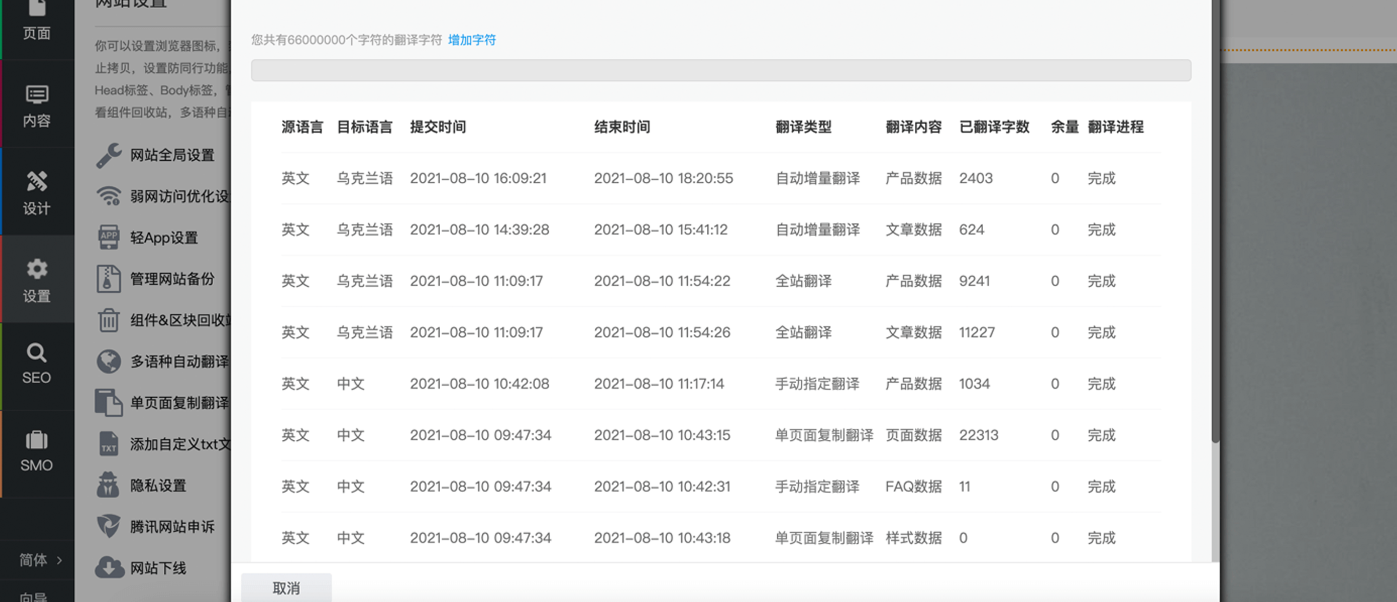
3、多语种翻译“翻译进程”界面,增加“翻译类型”字段。记录用户在进行翻译时所选择的翻译类型,方便查看和追踪之前进行的操作。



4、内容管理后台-表单管理,在编辑表单时,“国家”选择控件增加“是否必填”设置项。


5370d5f36178dfba(08-13-09-16-34)


【功能优化】:


1、内容管理后台-产品分类编辑,“产品分类名称”输入框增加首字母大写功能;


2、区块更换背景后能够自动进行保存;


3、优化“图片集”组件,添加图片后可立即显示,无需滚动页面或刷新。


更多文章

商务热线:
0769-2166 5619
邮箱:
地址:
广东省东莞市莞城街道博厦工农路55号1号楼203室